-
-
菲羅門 FBX-DAI-1 氣相色譜柱
菲羅門 F-BRON X系列GC氣相色譜柱
1.完整的產品系列,放心的質量,極具性價比
2.同等甚至超越市場主流品牌的性能和質量
3.改進的分離度和惰性,解決許多種挑戰性應用
4.快速的產品定制周期,協作開發新方法
詳情
菲羅門 FBX-DAI-1 氣相色譜柱
-
適用于水樣直接進樣無需進行樣品的處理,可以直接將水溶性樣品進樣,減少樣品處理的麻煩
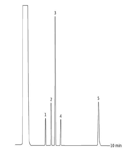
應用:飲用水中氯代烴的分析
最高溫度: 320 ℃
鹵代水化合物
條件:
升溫程序:104 ℃(恒溫)
載氣:氫氣, 0.8 mL /min
進樣口:直接進樣口
檢測器:ECD 300 ℃ , 補充氮氣 50 mL/min
樣品:
1. 氯仿
2. 甲基氯仿
3. 四氯化碳
4. 三氯乙烯 .
5. 四氯乙烯
供貨信息:
| 貨號 | 產品描述 |
| XD01-025-250-30 | FBX-DAI 1 - 30m x 0.25mm x 2.50um |
| XD01-025-250-50 | FBX-DAI 1 - 50m x 0.25mm x 2.50um |
| XD01-032-300-30 | FBX-DAI 1 - 30m x 0.32mm x 3.00um |
| XD01-032-300-50 | FBX-DAI 1 - 50m x 0.32mm x 3.00um |
| XD01-032-500-30 | FBX-DAI 1 - 30m x 0.32mm x 5.00um |
| XD01-032-500-50 | FBX-DAI 1 - 50m x 0.32mm x 5.00um |


